BLH NOBEL / KISD-6 Load Cell

The KISD-6 load cell has several features that clearly distinguish it from other load cells. It is easy to install and accurate, even when subjected to dynamic process forces and severe environmental conditions. Due to the double ended, double cantilever design it can have a floating load point and is not affected by side forces up to 100%. This makes it non sensitive to thermal expansions, vibrations and disturbing side force.. All KISD load cells can be ATEX/IEXEx certified for use in explosive atmospheres.

Category:
Brand:

Description

KISD-6 Load Cell

Features
Capacity range: 50, 100, 200, 400, and 1000kN (11.2K, 22.5K, 45K, 90K, and 225K lb)
Cylindrical shape for easy installation
High accuracy
ATEX/IECEx approved for hazardous areas
Certified for Functional Safety applications
High overload capacity
Stainless steel construction
Application: Process Weighing & Batching,Crane Weighing & Overload Protection,Hazardous Areas
Certificates: ATEX,IECEx,SIL
Combined Error: 0.06-0.1 %
Environment Protection Class: IP67,IP66,IP65,IP54,IP20
Industry: Offshore,Metal,Mining,Pulp & Paper,Chemical,Pharmaceutical,Food & Beverage
Material: Stainless Steel
Max Capacity: k lb: 25-115
Max Capacity: kN: 100-500
Max Capacity: ton: 10-50
Product Type: Weigh Modules & Load Cells

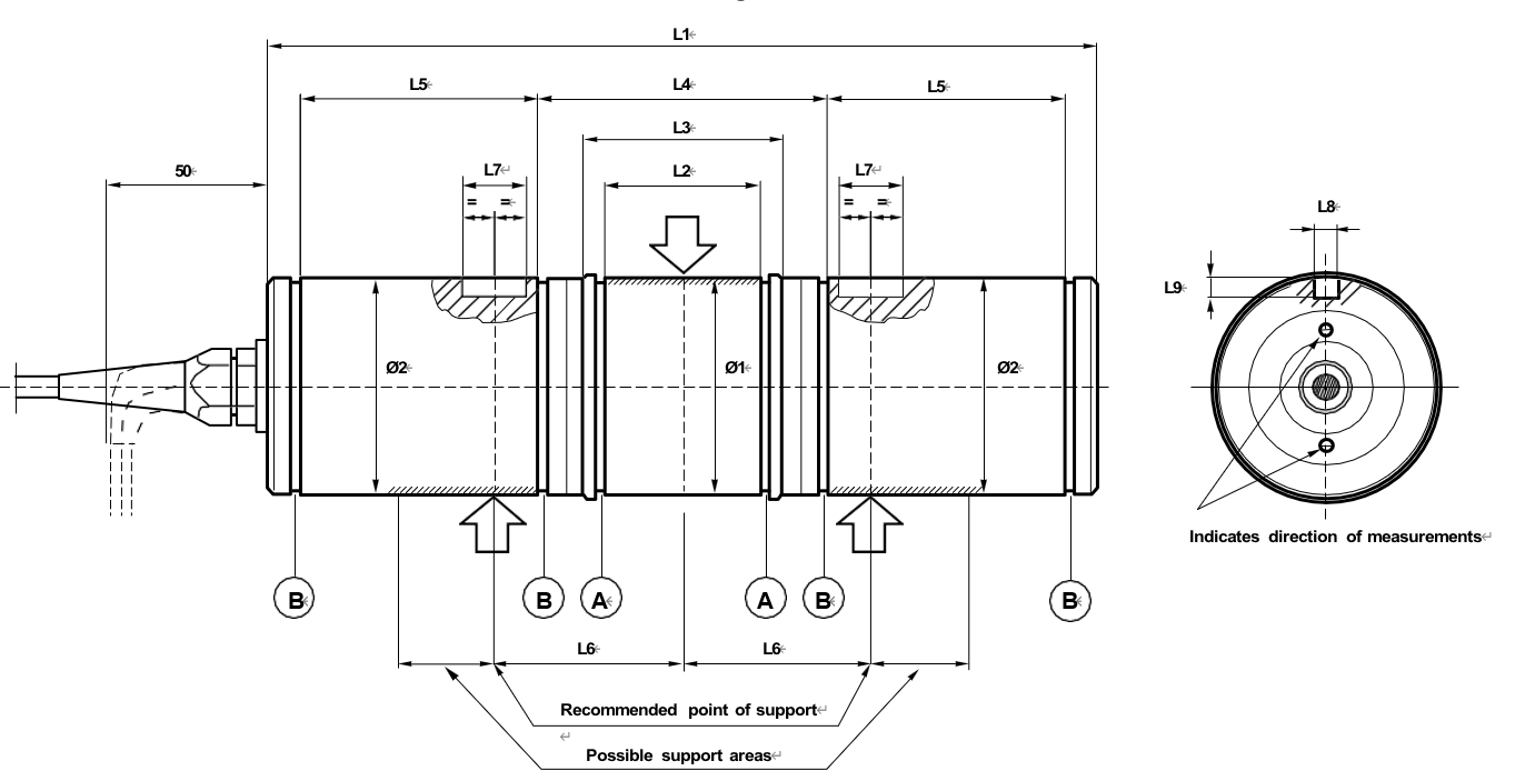
OUTLINE DIMENSIONS

RANGE kN L1 L2 L3 L4 L5 L6 L7 L8 L9 Ø1 Ø2 A Circlip B Circlip
50, 100 260 49 +0.5

+0.2

62 90 75 +0.5

+0.2

59 20 7 6 70 –0.030

–0.076

68         0

–0.120

70 X 2.5 68 X 2.5
200 306 60 +0.5

+0.3

76 106 90 +0.5

+0.3

73 30 7 7.5 90 –0.036

–0.090

88         0

–0.140

90 X 3.0 88 X 3.0
400 360 70 +0.5

+0.3

86 116 112 +0.5

+0.3

83 35 8.5 8.5 100 –0.036

–0.090

99         0

–0.140

100 X 3.0 100 X 3.0
1000 500 150 +0.5

+0.3

180 222 124 +0.5

+0.3

145 35 15 10 140 –0.043

–0.106

139         0

–0.160

140 X 4.0 140 X 4.0

Load Cell

INSTALLATION EXAMPLE

Load Cell

SPECIFICATIONS
PARAMETER VALUE
Rated load (RL) 50, 100, 200, 400, 1000 kN
Combined error (terminal) ±0.1% RO
Repeatability 0.02% RO
Safe load 200% RL (1)
Ultimate load 300% RL (1)
Safe sideload 100% RL (1)
Ultimate sideload 200% RL (1)
Input voltage, recommended 10 VDC or VAC
Input voltage, maximum 18 VDC or VAC
Input resistance 382 Ω ±3 Ω
Output resistance 350 Ω ±3 Ω
Rated output (RO) ≈2 mV/V
Zero balance ±5% RO
Tolerance of shunt calibration values ±0.25% of value (2)
Temperature range –40 to +80°C (+100°C) (3)
Temperature effect (–10°C to +50°C) on output ±0.005% of output/°C
Temperature effect (–10°C to +50°C) on zero balance ±0.005% of RO/°C
Insulation resistance at 200 VDC >4 GΩ
Material Stainless steel
Electrical connection 10 m shielded four conductor cable
Degree of protection IP67

(1) Referring to recommended loading point
(2) See calibration sheet of the load cell
(3) –40 to +100°C on demand
BLH Nobel is continually seeking to improve product quality and performance. Speciications may change accordingly.

Reviews

There are no reviews yet.

Be the first to review “BLH NOBEL / KISD-6 Load Cell”