설명
FCA7300 Torque/Speed/Velocity for Steering Wheel
FEATURES
– Universal – fits all road vehicles
– Rapidly Installed via mounting adapters
– 10x FS Torque overload protection
– Highest accuracy available on the market
– Low fitting depth
– Universal – fits all road vehicles
– Rapidly installed via mounting adapters
– 3000 point optical coder for angle/velocity measurement
– Angular /velocity signals processed
– Internally to give analogue outputs –
– No need for external ttl electronics
– 10 x F.S. torque overload protection
– Optional adjustable steering stops available (self-folding for safety)
APPLICATIONS
– Automotive design & test – Trucks maintenance testing
The FCA7300 steering wheels sensors aredesigned for automotive testing and provide an “all-in”measurement.
This generation of transducers incorporates numeroustechnological functions, such as:
– Angle reset, torque calibration
– A Start trigger signal to the remote data acquisitionsystem.
– Optical coder processing to prevent the need forexternal TTL electronics
– Five simultaneous analogue output signals
– Suppression of the bearing friction influence ontorque, allowing high accuracy for low torquemeasurements
– Low profile design retains the same drivingconditions as with standard steering wheels.
– The sensor assembly can be operated:
o The sensor can be screwed on shaft, seedrawing page 3.
o Easily mounted on any road vehicle byoptional flanges, please consult factory.
– Optional steering stops adjustable between ±15° to±165° are available. These stops fold automaticallyfor safety.
GENERAL FEATURES
The FCA 7300 series of measurement steering wheelsare the most accurate available on the market today.This new generation of transducers incorporatesnumerous technological innovations, such as :Full on-board conditioning electronics, with built-inangle reset, torque calibration function and a facility tosend a start trigger signal to the remote data acquisitionsystem.Optical coder processing electronics are built-in – thereis no need for external TTL electronicsFive simultaneous analogue output signals, twotorque channels, two angle channels and oneangular velocity channelBearing friction influence on the torque measurementhas been eliminated, allowing high accuracy low torquemeasurementsLow profile design retains the same driving conditionsas with standard steering wheels.Easily mounted on any road vehicle by means offlanges; no disassembly of the steering column isrequired.Optional steering stops adjustable between ±15° to±165° are available. These stops fold automatically forsafety: there is no need for the driver to hit a panicbutton.
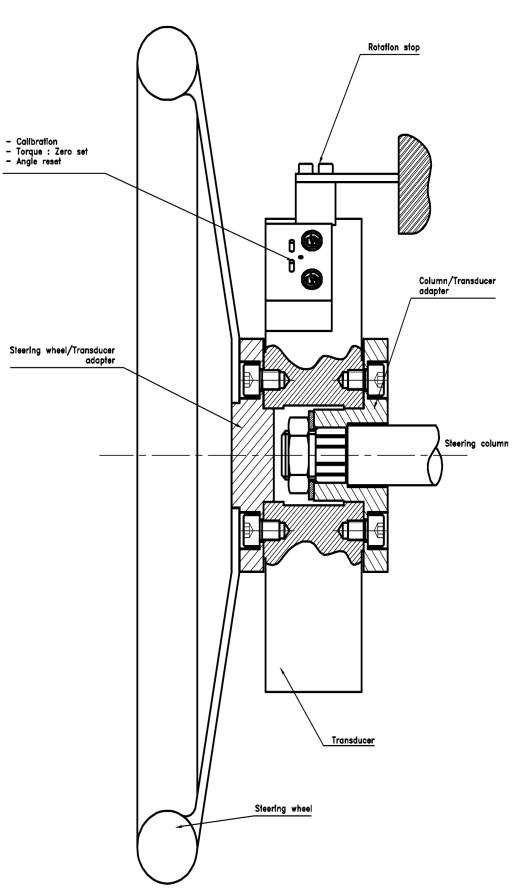
Mounting principle of transducer on steering column – no disassembly of column is required. Adapters are not supplied

PERFORMANCE SPECIFICATIONS (typical values at 23±3°C)

DIMENSIONS

ANGULAR STEERING STOPS

STEERING WHEEL ADAPTER (Ø330 to 400)

STEERING WHEEL ADAPTER (Ø400 to 530)

FCA7300 ASSEMBLY & OPTIONS


ORDERING INFORMATION



상품평
아직 상품평이 없습니다.