설명
60610 Load Cell
DESCRIPTION:
- 5 to 100 pounds capacities
- High Speed Check-Weighing
- Moment Corrected for 6″ x 6″ platforms for 4-15 pound capacities
- 12″ x 12″ platform for 20 x 100 Lbs. capacities
- Stainless Steel or Nickel Plated Steel
- Environmentally Protected
- 10 Ft. PVC Jacketed Cable
SPECIFICATIONS:
| Standard Capacities (lbs.) | 5, 10, 15, 20, 25, 50, 200 |
|---|---|
| Excitation Voltage | 10VDC – Maximum 15VDC |
| Rated Output | 1.6 mv/v |
| Non-Linearity | < 0.03% FSO (Full Scale Output) |
| Hysteresis | < 0.02% FSO |
| Non-Repeatability | < 0.01% FSO |
| Zero Balance | ± 5.0% FSO |
| Bridge Resistance | 420 ohms ± 15 ohms (Input) 350 ohms ± 3 ohms (Output) |
| Safe Overload | 150% FSO |
| Temperature – Compensated Range | 0 – 150 deg. F |
| Temperature – Effect of Output | < 0.0008% FSO/deg. F |
| Temperature – Effect on Zero | < 0.0011% FSO/deg. F |
| Material/Finish | Nickel Plated Steel / Stainless Steel |
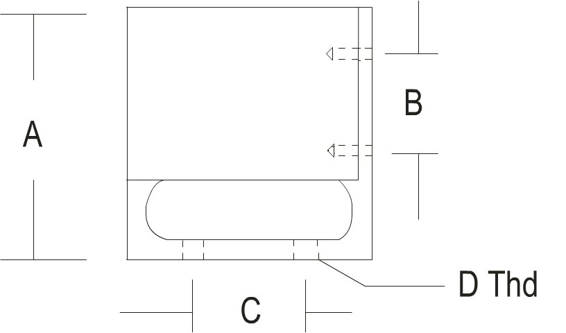
DIMENSIONS:

| CAPACITY (Lbs.) | A | B | C | D |
|---|---|---|---|---|
| 5 – 100 | 4.1 | 1.52 | 1.75 | 1/4-28 |
APPLICATIONS:
- Jewelry Scales
- Small Bagging Machines
- Thread Tension Measurements
- Fruit Sorters


상품평
아직 상품평이 없습니다.